Применение
Изначально газлифт стал крайне полезным решением в области автомобилестроения. Его установка осуществлялась на багажники и капоты. Водитель сам не держит конструкцию, поскольку вместо него эту функцию выполняет лифт. Подъемники поднимали и удерживали определенный вес, предотвращая резкие падения, повреждения и пр.
Но сегодня эти элементы зашли куда дальше. Основными сферами применения можно назвать:
- мебельная промышленность;
- строительство;
- изготовление дверей, рам и витрин;
- медицинская отрасль;
- изготовление оргтехники;
- оружие;
- аэрокосмические конструкции;
- робототехника;
- бытовая техника и не только.

Лифты могут иметь разные размеры, они отличаются по своей конструкции и устройству, что позволяет найти оптимальный вариант механизма для каждого конкретного случая.
Но нас интересует газлифт как мебельная фурнитура. Если обойти мебельные магазины в Спб или в Москве, либо полистать страницы каталогов в Hafele Shop Ru, вы найдете огромное количество вариаций и производителей газовых лифтов.
Основные критерии выбора
Чтобы корректно подобрать газовый лифт, потребуется определить:
- вид системы;
- технические параметры;
- производителя.
Разновидности газлифтов. Их преимущества и недостатки
Для сборки мебели используются:
- подъемник прямого действия;
- подъемник обратного действия.
Газовый лифт прямого действия работает на сжатие. Это наиболее популярный вариант системы подъема, так как отличается простой изготовления, более низкой стоимостью и простотой установки.
Газовые подъемники прямого действия
Мебельные подъемники обратного действия наоборот работают на выдвижение штока. Фурнитура более сложна в изготовлении, так как требуется высокая точность при производстве, что в первую очередь отражается на стоимости оборудования.
Подъемные механизмы для мебели обратного действия
Газовые лифты также могут различаться по способу открывания. Существуют модели:
- с пошаговой конструкцией, то есть ручным открыванием. Дверца шкафа или иной откидной элемент в данной ситуации оснащаются ручкой, облегчающие процесс управления подъемным механизмом;
- с автоматической конструкцией. В данном случае подъемник оснащается электроприводом, приводящим подъемный механизм в действие.
Мебельный подъемник с электроприводом
Автоматическая фурнитура устанавливается на шкафчики, расположенные в недоступном для стандартного открывания месте (например, высоко) или при сложности ручного управления (например, из-за большого веса кровати). Следует отметить, что стоимость такой фурнитуры значительно выше.
Определение технических параметров
Чтобы пневматический газовый лифт прослужил длительное время, потребуется определить:
- силу сжатия;
- размеры оборудования.
При самостоятельном расчете сила сжатия пружины определяется с учетом:
- веса откидной конструкции (фасада, кровати, поднимающейся части стула и так далее);
- расстояния, определяемого от центра оси работы оборудования до середины рычага (центра тяжести);
- высота между центром оси системы и местом крепления оборудования;
- количества устанавливаемых подъемных механизмов.
Данные и способ расчета газового лифта для мебели
Чтобы не производить сложный расчет, можно воспользоваться рекомендациями специалистов:
- доказано, что при выборе подъемников для шкафа на 1 кг нагрузки потребуется подъемная сила в 10 Ньютонов. Производителями выпускаются подъемники разной силы. Наибольшей популярностью для кухонных шкафчиков пользуются устройства 60 N – 140N, а для диванов, кроватей, стульев – 1000 N;
- при выборе подъемников для иных предметов мебели учитываются классы устройства.
| Класс | Максимальный вес, кг |
| 1 | 80 |
| 2 | 100 |
| 3 | 150 |
| 4 | 200 |
Если класс подъемника подобран некорректно, то это не означает, что механизм работать не будет. Однако в значительной степени снизится срок использования мебельной фурнитуры.
Следующий шаг – определение размеров мебельного подъемника. Длина газлифта зависит от размеров дверцы шкафа или иного подъемного устройства.
Популярные производители
При выборе мебельной фурнитуры также требуется обратить внимание на производителя, так как именно от компании-изготовителя зависит надежность и срок использования оборудования. В настоящее время популярностью пользуются изделия, изготовленные следующим компаниями:
В настоящее время популярностью пользуются изделия, изготовленные следующим компаниями:
Функциональные типы
Относительно каждого из вышеперечисленных видов деятельности может быть подобран газлифт соответствующего типа. Есть несколько основных критериев выбора таких систем.
Направление действия
В данном случае выделяются прямые и обратные газлифты. Работа первых построена на сжатии штока. По умолчанию этот элемент выдвинут на всю длину. Именно эта разновидность газлифтов задействуется в производстве мебели. Что касается обратной системы, то в ней шток выдвигается изнутри.
Уровень давления в цилиндре
В конструкцию могут быть установлены пружины с высокой или низкой степенью давления.
- Для первых используется сочетание штока и цилиндра, заполняемого инертным газом (неразборное изделие). Газ вытесняет стержневую часть из цилиндрической. Когда шток углубляется, газовый объем сокращается, что приводит к наращиванию степени давления пружины.
- Вторые же представлены двумя полыми цилиндрами. Давление пружины в них меняется пропорционально объема закачанного газа.
Стоит отметить, что системы низкого давления практически не имеют эксплуатационных ограничений. Они просты в использовании и обслуживании, начиная с этапа монтажа в мебельную конструкцию (или любую другую).
Вид блокировки пружины
Отдельный функциональным типом можно считать газлифты с блокируемой пружиной. Стоп-элемент устанавливает на напорную трубку или шток, что позволяет останавливать ход конструкции в нужный момент. В частности, это актуально при регулировании подъёма в офисных креслах. Фиксируется газлифт посредством специальной кнопки, управляющей клапаном поршня (в движение система приводится при нажимании на этот элемент).
С технической точки зрения выделяется три способа блокировки:
- Стандартный (с достаточно эластичным фиксатором). Со временем повышается риск самопроизвольного движения поршня.
- Амбивалентная. При вытягивании поршня фиксация является более жесткой, что повышает надёжность.
- Комбинированная. Одинаково жесткая фиксация, исключающая свободное перемещение пружинного элемента в какую-либо из сторон, если рычаг в конструкции не нажат.
Естественно, степень надёжности системы влияет на её конечную стоимость.
Делаем подъемный каркас
Сборка подъемного каркаса своими руками состоит из двух основных этапов, это столярно-плотницкие работы и процесс обработки.
Столярно-плотницкие работы:
сборка начинается с подготовки деталей для каркаса, согласно чертежу, в котором указаны все размеры; далее, собирается основа каркаса, это короб из калиброванных досок. Процесс необходимо проводить на полу, для исключения перекосов. Для выравнивания углов необходимо использовать строительный угольник; производится стяжка конструкции при помощи металлических уголков, а для прочности места стыков проклеиваются столярным клеем
Нужны они для крепления на них ламелей. Размер реек должен быть в пределах 20 на 80 мм; в качестве ламелей выступают те же рейки, только длина их будет соответствовать ширине кровати. Крепление их производится на опорные рейки вдоль каркаса, с шагом не более 15 см. Для ламелей подойдет и фанера, но в этом случае установка центральной перегородки обязательна; на этом столярный процесс окончен и подъемный каркас готов.
Обработка каркаса:
- этот процесс подразумевает облагораживание деревянных деталей шкуркой или специальной шлиф машинкой и покрытие их лаком;
- одним из нюансов подготовки каркаса является фанерный лист, который ложится на ламели для равномерного распределения нагрузки. Либо можно произвести укладку ламелей с частотой шага 8–10 см.
Как правильно установить газлифт на кухонный шкаф?
В начале работы нужно подобрать инструмент и произвести разметку, закупить газлифты и комплектующие. Газлифты характеризуются разными параметрами и усилием, при котором пружина сжимается. Устройство должно соответствовать размерам мебели. Обычно размеры мебели стандартные и для нее выпускаются три основных варианта газлифтов по размерам. Нужно знать максимальное выдвижение штока и длину сложенного механизма.
Усилие сжатия нужно при расчете конструкции для дверок разной массы с учетом всего покрытия и фурнитуры. Величина сжатия пружины нормируется и указана в техпаспорте механизма, измеряется в ньютонах и может быть по величине в 60, 80, 100 и до 140 Н. По весу двери рассчитывается газлифт из расчета килограмма массы двери на 10 ньютонов усилия сжатия.
Способов крепления много. Часто употребляются плоские площадки, монтируемые на боковинах шкафа шурупами и саморезами. Для деревянной мебели используются вкручиваемые держатели.
Какой инструмент понадобится при монтаже?
Необходим набор инструментов — одного не хватит. Если вы хотите произвести установку самостоятельно, вам понадобятся:
- Метр, линейка или рулетка.
- Молоток и плоскогубцы.
- Дрель (лучше электрическая).
- Отвертка или шуруповерт (последний предпочтительнее).
Шаг 1. Разметка перед установкой
Перед установкой устройства производится разметка в нише шкафа и расчеты, необходимые для установки. Также производится разметка центров мест крепления по обеим сторонам ниши и на дверце.
Шаг 2. Монтажные работы
Установка газлифта на кухонный шкаф осуществляется следующим образом:
1. Вначале закрепляются основания к бокам шкафчика на местах, размеченных ранее.
2. Устанавливаются пластины и скобы с пружинами. Скоба вкручивается, головка газлифта защелкивается прямо на ней.
3. Центр крепления должен совпадать с размеченным, крепится основание в разных вариантах 3-мя или 4-мя шурупами или саморезами. Головка конструкции фиксируется в отверстиях.
4. Аналогично производятся действия по закреплению на дверце мебели. Угол наклона шарнира должен быть 8 градусов.
Схема установки газлифта
5 советов по монтажу
В связи с самостоятельным проведением крепления устройства можно предоставить несколько полезных советов:
- Механизм должен закрепляться на боковины ниши — иначе будет перекос крепления.
- Дверца в шкафчике должна быть усиленно закреплена с помощью двух дополнительных мебельных петель.
- Лифты лучше выбирать с усилием до 80 ньютонов, двери большей массы отсутствуют на практике.
- Фурнитура на дверцах должна быть установлена до установки газлифтов.
- При монтаже кухонного шкафа он не должен висеть на стене.
Верхние шкафы оснащены газовым лифтом.
Газлифты очень удобны и расширяют функциональность шкафов и другой мебели. Небольшая цена и возможность купить и самостоятельно установить их со стороны фасада дают им преимущества перед другими конструкциями. Недостаток устройства — отсутствие возможности починить уже установленный газлифт для кухни. В интернете есть много видео и дана полная инструкция, как крепить устройство. Поставить его можно на шкаф из любого материала.
Механизм своими руками: что для этого нужно?
Простота базовой конструкции наталкивает на мысль, что подобный механизм под силу изготовить и самому. Отчасти это так, но лишь в случае, если есть опыт работы с металлом, сверлильным станком и сварочным аппаратом.
Конструкцию с подъемным механизмом можно изготовить и самостоятельно.
Если же рассуждать об изготовлении в контексте общих принципов работы, можно выделить несколько ключевых моментов:
- Чертеж. Конструктивные особенности, такие как ширина полки опорных пластин, длины тяг и расстояние между отверстиями рассчитываются в зависимости от точки приложения нагрузки, ее характера (точечная или распределенная), а также положением оси относительно центра масс всей конструкции. Если подобные расчеты сложно сделать самостоятельно, рекомендуется поискать наиболее подходящее решение в готовом виде.
- Тип конструкции. Ручной вариант самый простой с точки зрения изготовления. Однако если есть желание поставить компенсатор, здесь выбор очевиден – газовый амортизатор. Установка пружины подразумевает точный расчет ее жесткости: слабая – не удержит основание, а слишком жесткая – потребует значительных усилий при открывании. Кроме того, ее может просто не оказаться в магазине.
- Характер использования (интенсивность). Это определит насколько мощный (надежный) механизм понадобится.
Как установить доводчик самостоятельно
Установкой сложных дорогостоящих систем амортизации, таких как электрические подъемники, должны заниматься профессионалы. С монтажом более простых и распространенных конструкций под силу справиться любому домашнему мастеру.
Проще всего закрепить на мебельных петлях специальные петлевые доводчики.
Плечо или чаша петли должны иметь специальные пазы, доводчик накладывается сверху и защелкивается.
Если петли не приспособлены для крепления амортизационных устройств, воспользуйтесь корпусными или врезными доводчиками.
Монтаж корпусного доводчика
Установка корпусного доводчика производится в непосредственной близости от мебельной петли. Допускается размещение посередине, между петлями.
Как установить:
- Для удобства настенные шкафчики снимите со стены. Положите предмет мебели на пол или стол.
- Отметьте, где будет закреплено устройство, поставьте точки в местах предполагаемых отверстий.
- Высверлите отверстия под крепежные болты. Для саморезов точечно проткните поверхность шилом.
- Прикрутите основание доводчика саморезами или болтами.
- Проверьте, не возникло ли помех при открывании и закрывании дверок.
- Повесьте шкаф на место.
Накладные корпусные доводчики могут быть оснащены ограничителем. Его прикладывают к краю детали и сразу закрепляют устройство саморезами без предварительной разметки.
Врезные устройства
Врезные доводчики монтируются в торец боковой детали шкафа, противоположной дверке. Для навесных шкафов выбирают верхнюю или среднюю часть детали, для напольных — нижнюю.
- Отмечают точку установки доводчика в торце детали. Проделывают небольшое отверстие шилом.
- Сверлом, соответствующим длине и толщине стержня доводчика, высверливают отверстие на соответствующую глубину.
- Вставляют механизм в отверстие.
Клей или герметик для фиксации лучше не использовать. Они создадут трудности при демонтаже в случае поломки. Доводчик не сместится и не выпадет без дополнительных средств крепления.
Установка газлифта
Порядок работы:
- Разметьте карандашом места установки креплений оборудования.
- Для крепежных болтов предварительно просверлите отверстия. Если используете саморезы, этого делать не нужно.
- Приложив крепления к намеченным местам, зафиксируйте их саморезами или болтами.
- Механизм доводчика вставьте в отверстия креплений, защелкните нажатием.
Устройство и конструктивные особенности офисных кресел
Все существующие офисные кресла можно разделить на следующие группы.
Для руководителей. Отличаются большими габаритами и солидным видом, чаще всего обиты натуральной или искусственной кожей. Имеют наибольшее количество функциональных возможностей, например, синхромеханизм, обеспечивающий повторение движений сидящего спинкой и сиденьем, механизмы, регулирующие глубину сидения, сопротивление спинки, отрицательный наклон и прочее.
Кресла для руководителя отличаются комфортностью и размером.
Для персонала
Должны быть удобными и надежными, поэтому при их выборе основное внимание уделяется форме сиденья и спинки и механизму газлифта, а не внешнему виду. Они имеют малый вес, что позволяет обеспечить высокий уровень мобильности, и скромный функционал, в который входят механизмы, регулирующие высоту подлокотников и сиденья, а также угол наклона спинки
В эту группу входят компьютерные кресла и операторские конструкции с подлокотниками.
Для посетителей. Такие кресла должны быть в первую очередь комфортными, красивыми и устойчивыми, а потому они лишены какой бы то ни было функциональности. Часто они имеют четыре стационарных ножки, без крестовины на колесиках и механизма вращения.
Современное кресло – это функциональный и комфортабельный предмет мебели.
Почти все модели оснащены подлокотниками. Дешевые конструкции почти полностью изготовлены из пластика, более дорогостоящие – из нержавеющей или анодированной стали.
Несмотря на существующие различия, все кресла состоят из следующих основных элементов:
- пятилучевая крестовина, являющаяся базой всей конструкции и изготавливающаяся из пластика либо металла;
- ролики, пластиковые или металлические, имеющие внутренний шарнир и крепление из металла;
- пневмопатрон, или газовый лифт, являющийся ножкой кресла и обеспечивающий упругость;
- механизм качания, способствующий фиксации кресла в одном положении и отклонению;
- пиастра, имеющая вид металлической платформы, снабженной рычагом, и необходимая для регулировки высоты сидения;
- перманент-контакт, соединяющий сидение и спинку и отвечающий за изменения положения последней.
Многофункциональность – главный критерий при выборе кресла.
Офисные кресла обладают следующими возможностями, направленными на удобство работы за столом:
- регулировка высоты, позволяющая подобрать оптимальную высоту сиденья для каждого человека;
- изменение наклона спинки, обеспечивающее постоянный контакт с ней спины, даже при изменении положения сидящего;
- вращение вокруг оси и мобильность, создающаяся благодаря роликам.
Офисное кресло – это достаточно сложное устройство и любой из его конструктивных элементов может выйти из строя.
Основные понятия
Газовый лифт представляет собой специальный механизм, который используется для подъема прикрепленных к нему поверхностей. Очень многие сравнивают эту конструкцию с автомобильными амортизаторами. Внешне конструкция имеет форму небольшого цилиндра с несколькими фиксаторами и движущим плечом.
Этот механизм состоит из нескольких основных элементов:
- Цилиндр, внутри которого располагается газ. Зачастую емкость заполняют азотом. Следует отметить, что смесь внутри находится под очень большим давлением, поэтому не рекомендуется самостоятельно разбирать газлифты.
- Масляный демпфер.
- Поршень со штоком. Эти элементы используются для передачи усилия внешней среде.
Преимущества подъемных кроватей
Газлифты устанавливаются в различных типах кроватей. Некоторые модели представляют собой сложные трансформируемые системы. В других поршень применяется только для поднятия каркаса, на котором лежит матрас.
Следует выделить несколько преимуществ подобных изделий:
- Практичность. Пространство под кроватью прекрасно подходит для хранения вещей, постельного белья, одеяла.
Прочность. Газлифты не только снижают нагрузку для человека, но и оберегают каркас кровати от быстрого разрушения.
Простота. Чтобы активировать механизм, не нужны значительные усилия и особые навыки. Сделать это может даже ребенок.
Разнообразие конструкций. Такой тип мебели очень распространен на рынке, что позволяет подбирать изделия на любой вкус и цвет. Можно найти как кровати прямоугольной формы, так и варианты с круглым ложем.
Экономичность. Достигается это за счет того, что в качестве шкафчика можно использовать пространство под кроватью.
Подъемные механизмы для открывания дверей
Говоря о подъемных механизмах для кухонной мебели, сразу приходит в голову газлифт. Это своеобразный кронштейн для мебели. Он используется , но чаще для установки дверей кухонной мебели, которые открываются вверх.
К преимуществам механизма относят следующее:
- открывать дверцы можно бесшумно;
- закрывается медленно и без хлопка;
- ход регулируется самостоятельно;
- дверца надежно зафиксирована в открытом положении;
- устройство газлифта позволяет не использовать ручки, открывание происходит от одного нажатия.
С такими достоинствами механизма, кухонная гарнитура прослужит долгие годы с надежностью и удобством.
Конструкция газлифта и принцип работы
Газлифт собирается из следующих частей:
- кнопка;
- внешний конус;
- газовый клапан;
- пластиковая втулка;
- внешняя полость;
- конус газлифта;
- канал перепуска газа;
- внутренняя полость;
- внутренний конус;
- уплотнитель;
- подъемный шток;
- упорный подшипник;
- посадочный конус.
Не вскрывайте корпус газлифта. Малейшее вмешательство повредит герметичность корпуса и приведет к ранениям и травмам. И так как данный механизм неразборной, поэтому починить газлифт уже нельзя.
Принцип действия газлифта несложный и основывается на газовой пружине и гидравлическом амортизаторе. Если открыть дверную створку на 8–10ᵒ, то далее она откроется самостоятельно. Так же происходит и закрытие.
Внутренняя полость корпуса задувается газом азотом. За этот процесс подъемник для мебели и получил название газового лифта. Стоит заметить, что наполнения азотом происходит при создании механизма, а затем герметично закрывается,поэтому отремонтировать газлифт невозможно.
Ведь благодаря надежности механизмов для кухонных шкафов мебель прослужит долго, хранение кухонной утвари в шкафах станет упорядоченным и эргономичным. Помещение кухни станет аккуратным и удобным для приготовления пищи.
Мебельные петли являются важными комплектующими для любой кухонной мебели, имеющей открывающиеся дверцы. Ассортимент их под разные нужды достаточно разнообразен. Особой популярностью при изготовлении большинства современных кухонь пользуются системы с удобными и прочными доводчиками.
Доводчик – это компактное устройство, специально установленное на дверцах шкафа для их медленного и плавного закрытия. Постепенное и мягкое закрытие препятствует образованию сколов красочного слоя и трещин, что увеличивает срок эксплуатации дверцы и кухонного шкафчика в целом.
Доводчики должны удерживать дверцы кухонного шкафа в закрытом состоянии. Однако, они не гарантируют возможности резкого хлопка дверцы при небрежном закрытии. Если в шкафчике есть стеклянная полка или стоит хрупкая посуда, повреждений не избежать.
Доводчики, используемые на дверных петлях, не подходят для выкатных полок, ящиков и других элементов. В таких конструкциях применяются специальные виды доводчиков, имеющие визуально незаметные специальные направляющие. Выдвижные доводчики стоят дороже, чем петельные, но их цена оправдывается надежностью и комфортом применения.
Для организации оптимального хранения в труднодоступных угловых кухонных шкафах, монтируются поворотные механизмы, которые при открытии дверцы выдвигают полки и днища систем хранения, а при закрытии возвращают всю конструкцию назад.
Подъемные механизмы также являются полезными устройствами при производстве кухонной мебели. Обычные кухонные ящики открываются путем распахивания дверок или откидывания вниз параллельно полу, что не всегда удобно в условиях ограниченного кухонного пространства.
В современных кухонных гарнитурах сегодня применяют удобные дверцы, открывающиеся вверх. Для таких шкафов и нужны подъемные механизмы с доводчиками, осуществляющие плавное открытие на нужную высоту. Открывание дверец и доставание предметов с полок таких шкафов становиться более удобным процессом, совсем необязательно крепить ручки, подъем осуществляется путем легкого нажатия на поверхность дверцы рукой.
Правила установки
Перед креплением газового лифта следует учесть следующие особенности:
- на один фронт стоит смонтировать два газлифта, чтобы при открывании не возникало большого напряжения, способно вызвать перекос;
- из-за высокого уровня жидкости применять газовые лифты с усилием в 100 Ньютон в большинстве случаев нецелесообразно;
- регулировка фронта с подъемным механизмом осуществляется петлями, крепящими его к коробу;
- сборке короба, в котором будет монтироваться фурнитура, должна предшествовать установка крепежных элементов;
- при помощи перемещения места установки крепежей к фасадной части боковой стороны можно увеличить угол, на который будет открываться дверца;
- установка автоматических элементов требует точного соблюдения инструкций.
Доверьтесь профессионалу в установке газлифтов.
Подготовка необходимых инструментов
Для монтажа потребуются следующие инструменты:
- линейка, метр либо рулетка;
- молоток;
- дрель (предпочтительно электрическая);
- плоскогубцы;
- отвертка либо шуруповерт.
При установке соединительных элементов мебели удобно использовать дрель, где применяется специальное сверло.
Проведение разметки перед установкой
Перед тем, как установить газлифт на кухонный шкаф, необходимо произвести разметку в нише, а также расчеты для точной установки. Стоит провести разметку центров для мест крепления на дверце и по сторонам ниши.
Пере установкой несколько раз проведите примерку газлифта.
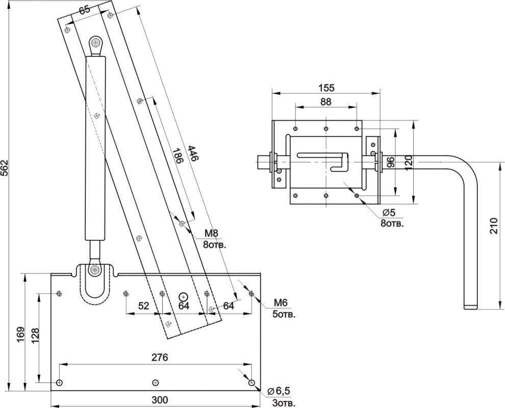
Прежде всего следует проверить соответствие оборудования. К примеру, для шкафа, имеющего высоту 365 мм, потребуется газлифт размером 355 мм. Порядок разметки следующий:
- Поставить отметку середины крепления на боковинах. Для этого от передней стороны боковины стоит отмерить 37 мм, а от внутренней части верхней крышки – 366 мм.
- Отметить центр крепления на створке. Для этого от бокового торца следует отмерить отрезок, равный высоте крепления на боковой части шкафа, обычно 19 мм, а от верхнего среза – 128 мм.
Используйте детальную инструкцию по установке газлифта.
Пошаговая инструкция по установке
Инструкция по установке мебельного газлифта на кухонный шкаф выглядит следующим образом:
- Закрепить основания к боковинам в размеченных местах.
- Установить скобы с пружинами и пластины. Скобы следует вкручивать, и головки лифта будут защелкиваться прямо на них.
- Прикрепить центр крепления так, чтобы он совпадал с разметкой. Основание крепится при помощи трех или четырех шурупов либо саморезов. При этом головка конструкции должна быть зафиксирована в отверстиях.
- Произвести аналогичные действия, закрепив газлифт на дверце. При этом следует добиться угла наклона шарнира в 8о.
Кровать также может быть с газлифтом.
Порядок установки механизма на кровать такой:
- Просверлить три отверстия в местах разметки (14-15 см от края, на высоте ножек).
- Закрепить болтами нижнюю часть механизма.
- Прикрепить уголок устройства к раме конструкции.
- Опустить основание механизма вглубь каркаса и отметить по четыре отверстия с каждой стороны. При этом будущие места крепления должны соответствовать нижней планке устройства.
- Открыть каркас и просверлить отверстия.
- Закрепить верхнюю планку таким образом, чтобы между коробом и рамой оставался зазор для полноценного функционирования механизма.
Газлифт позволяет сделать кровать многофункциональной.
Регулировка
При регулировке следует учитывать, что расстояние от потолка до верха шкафа должно превышать габариты дверки, так как открывание будет производиться вверх, и она не должна прикасаться к потолку.
Дверь могут закрываться бесшумно.
Регулировка позволяет обеспечить медленную и бесшумную работу дверок. Для нее следует подкрутить базовые элементы крепления изделия.
Установка подъемников
Еще одним вспомогательным источником станет дальнейшая инструкция. Она носит общий характер, но описывает наиболее распространенный и универсальный принцип монтажа подъемников.
Установка предусматривает выполнение таких действий:
- Сначала собирается непосредственно сам короб кровати. Ведь именно к нижнему корпусу и будет осуществляться крепление механизма;
- Собирается сам подъемник, если он не цельный, либо в комплекте идет по деталям;
- Устройство фиксируется на боковой панели. Вообще оптимально взять готовый механизм подъема уже в сборе. Собирать такие девайсы своими руками сложно, для этого нужен опыт и знания;
- Теперь само спальное место соединяется с подъемником. Возможно тут потребуется помощь, поскольку фиксация осуществляется в поднятом состоянии основания.
На этом установка считается завершенной. Обязательно проверьте работоспособность подъемного устройства, выполните несколько процедур подъема и опускания, убедитесь, что газлифт надежно фиксируется в поднятом состоянии.
Главный аспект, обеспечивающий правильную установку и дальнейшую эксплуатацию любого типа подъемного механизма для кровати, заключается в правильном расчете грузоподъемности и в выборе необходимого места для крепления.

Поскольку каждая кровать имеет индивидуальные характеристики, общих для всех рекомендаций не существует. Зато существует большой ассортимент подъемников, которые учитывают не только финансовые возможности покупателя, но и конкретные требования, эксплуатационные параметры и предполагаемую нагрузку.
Механизмы подъема и трансформации применяются повсеместно. Взять хотя бы раскладные кресла-кровати или же преимущественно детскую кровать-чердак , где также простыми движениями образуются полноценные спальные места, раскрываются дополнительные возможности мебели.
Кровати с подъемниками откровенное удобные и функциональные. Это те же стандартные кровати, но с расширенными возможностями. Альтернативой им могут служить модели с выдвижными ящиками.
Всем спасибо за внимание!
Подписывайтесь, оставляйте комментарии и задавайте актуальные вопросы!
Кровать – это не просто спальное место. Этот предмет интерьера можно сделать функциональнее за счет интересного изголовья, выполненного в виде шкафчиков или полок для книг. Но и это не предел функциональности. Под самой кроватью можно хранить редко используемые вещи, спрятав их от посторонних глаз. Но в этом случае особое значение приобретает свободный доступ к коробкам и ящикам, который реально получить, оснастив спальное место специальными подъемными механизмами – парой поршней, функционирующих по принципу газлифта для кровати.

Как правильно установить газлифт на кухонный шкаф?
В начале работы нужно подобрать инструмент и произвести разметку, закупить газлифты и комплектующие. Газлифты характеризуются разными параметрами и усилием, при котором пружина сжимается. Устройство должно соответствовать размерам мебели. Обычно размеры мебели стандартные и для нее выпускаются три основных варианта газлифтов по размерам. Нужно знать максимальное выдвижение штока и длину сложенного механизма.

Усилие сжатия нужно при расчете конструкции для дверок разной массы с учетом всего покрытия и фурнитуры. Величина сжатия пружины нормируется и указана в техпаспорте механизма, измеряется в ньютонах и может быть по величине в 60, 80, 100 и до 140 Н. По весу двери рассчитывается газлифт из расчета килограмма массы двери на 10 ньютонов усилия сжатия.

Способов крепления много. Часто употребляются плоские площадки, монтируемые на боковинах шкафа шурупами и саморезами. Для деревянной мебели используются вкручиваемые держатели.
Какой инструмент понадобится при монтаже?
Необходим набор инструментов — одного не хватит. Если вы хотите произвести установку самостоятельно, вам понадобятся:
- Метр, линейка или рулетка.
- Молоток и плоскогубцы.
- Дрель (лучше электрическая).
- Отвертка или шуруповерт (последний предпочтительнее).

Шаг 1. Разметка перед установкой
Перед установкой устройства производится разметка в нише шкафа и расчеты, необходимые для установки. Также производится разметка центров мест крепления по обеим сторонам ниши и на дверце.

Шаг 2. Монтажные работы
Установка газлифта на кухонный шкаф осуществляется следующим образом:
1. Вначале закрепляются основания к бокам шкафчика на местах, размеченных ранее.
2. Устанавливаются пластины и скобы с пружинами. Скоба вкручивается, головка газлифта защелкивается прямо на ней.
3. Центр крепления должен совпадать с размеченным, крепится основание в разных вариантах 3-мя или 4-мя шурупами или саморезами. Головка конструкции фиксируется в отверстиях.
4. Аналогично производятся действия по закреплению на дверце мебели. Угол наклона шарнира должен быть 8 градусов.

Схема установки газлифта
5 советов по монтажу
В связи с самостоятельным проведением крепления устройства можно предоставить несколько полезных советов:
- Механизм должен закрепляться на боковины ниши — иначе будет перекос крепления.
- Дверца в шкафчике должна быть усиленно закреплена с помощью двух дополнительных мебельных петель.
- Лифты лучше выбирать с усилием до 80 ньютонов, двери большей массы отсутствуют на практике.
- Фурнитура на дверцах должна быть установлена до установки газлифтов.
- При монтаже кухонного шкафа он не должен висеть на стене.

Верхние шкафы оснащены газовым лифтом.
Газлифты очень удобны и расширяют функциональность шкафов и другой мебели. Небольшая цена и возможность купить и самостоятельно установить их со стороны фасада дают им преимущества перед другими конструкциями. Недостаток устройства — отсутствие возможности починить уже установленный газлифт для кухни. В интернете есть много видео и дана полная инструкция, как крепить устройство. Поставить его можно на шкаф из любого материала.
Исследователи подсчитали, что ежегодно население земного шара проводит на кухне почти 3 триллиона часов. Может быть, поэтому люди стремятся максимально обустроить кухню, превратив ее в уютный островок для приготовления пищи, чаепития, разговоров по душам.
Самое главное в этом – грамотно подобрать и установить кухонный гарнитур и различные приборы и механизмы, например, газлифты на шкафы. Это непростое занятие, но вполне посильное, нужно только запастись терпением и полезными советами. Мы расскажем, что такое газлифт, для чего нужен и как его выбрать, а также об особенностях его установки на кухонный шкаф.


















































